Hart and Cooley 6TLCRS 6" All Fuel Vent Adjustable Roof Support

Item SKU - 502075 by Hart and Cooley (EDP 837919)

Product Images
Stock / Price Information
Please Login for Pricing

Product Description

Overview

Hart and Cooley model TLC All Fuel Chimney offers current technology in a factory built chimney design by providing superior performance, durability and safety. Model TLC is extremely corrosion resistant. Both the inner liner and outer casings are constructed of type 304 stainless steel. Embossed couplers do not allow moisture to penetrate the chimney's outer wall. Sections simply twist lock together and are secured with Locking Bands. The Model TLC product line features deluxe chimney support components that will enhance any installation. Black trims are used to embellish the chimney support component parts that may be installed inside the home. All Model TLC supports are designed to carry four times the UL listed weight of the listed height. Model TLC is safety tested and listed to applicable UL safety standards for chimneys serving solid fuel and liquid fuel appliances. This includes UL 103. This chimney system is designed for use on appliances that use solid, liquid or gas fuels under natural draft conditions.

Features

  • Stainless steel construction
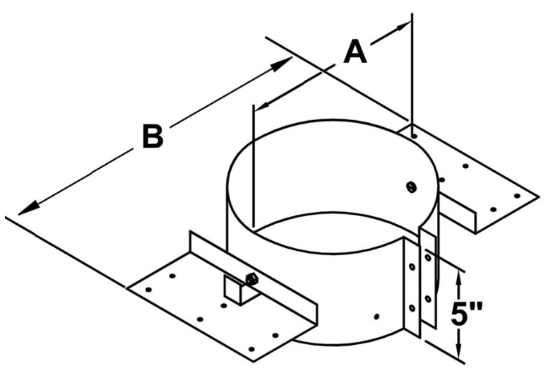
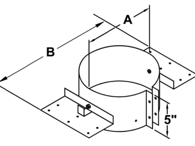
  • Dimension "A" is 8" - Dimension "B" is 17"
  • Adjusts to any roof pitch
  • May be used above an offset to support the offset, or as supplementary support when the vent height exceeds that of the primary support
  • Supports a total of 30' of vent pipe with up to 20' below the support
  • Does not act as a firestop

Specifications

These specifications are subject to change by the manufacturer, and are only approximate. For precise specifications, please call our inside sales department at 860-221-SALE (860-221-7253).

Shape
Roof Support
Type
All Fuel
Material
Stainless Steel
P1 Diameter (inches)
6
P1 Style
Round
P2 Diameter (inches)
6
P2 Style
Round

Related Products